纳米硒饲料添加剂及其制备方法
四川省德阳市广汉市金鱼镇凉水村
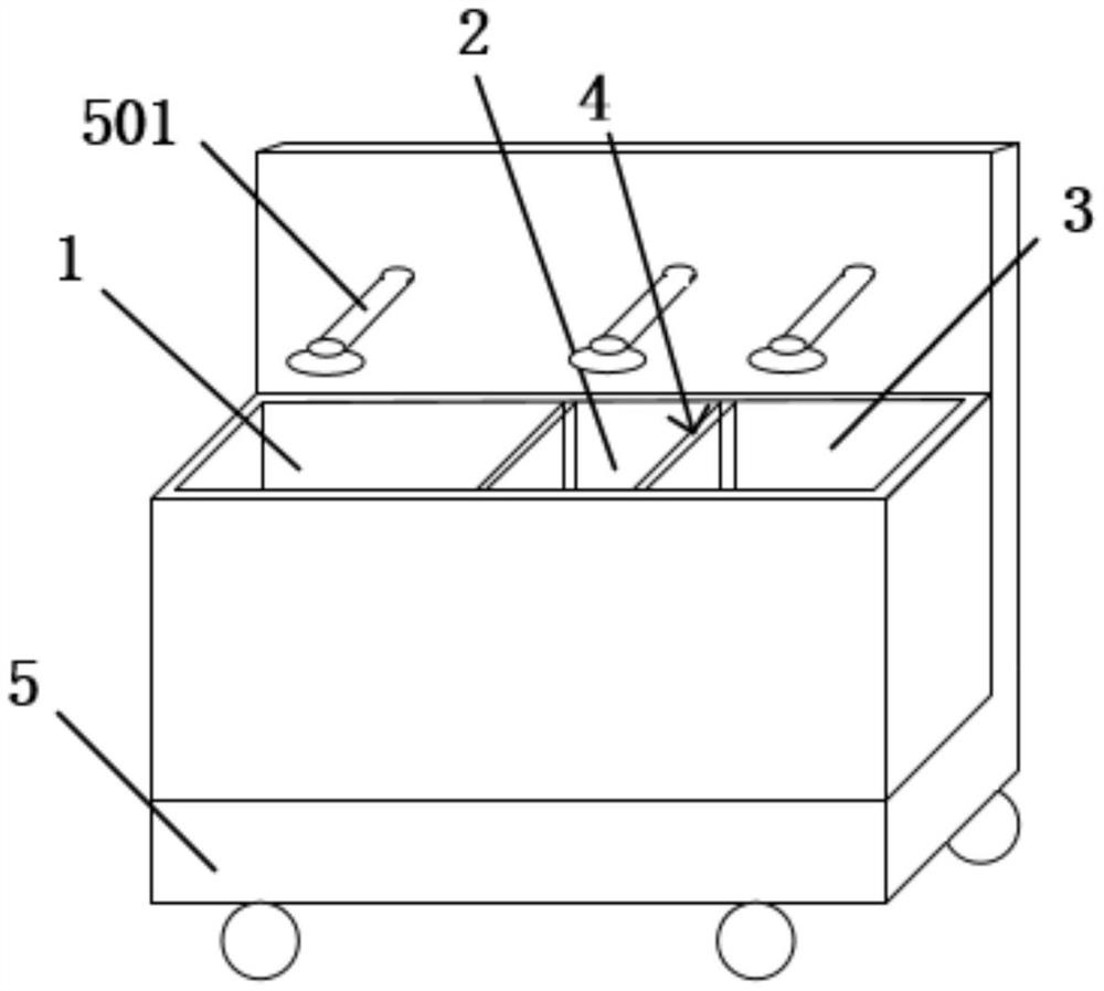
一种制备环保包装材料的混合搅拌装置
四川银宏包装有限公司
一种井口采气远程智能控制装置及方法
四川省威沃敦化工有限公司
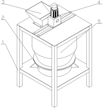
一种阻隔抑菌多层高分子复合材料的生产装置
四川银宏包装有限公司
腔道肿瘤解聚治疗新技术
中国科学院上海硅酸盐研究所
一种小直径堵水工具
四川省威沃敦化工有限公司
一种高纯柠檬酸螯合铜的制备方法
四川吉隆达生物科技集团有限公司
黑龙江省孙吴县四季屯区(4区)煤矿普查报告
科学技术部火炬高技术产业开发中心技术市场与成果转化处
一种长链非编码RNA及其血液定量检测方法
温州科技大市场
高压供热热压机装置
包头迈坦科技服务有限公司
胆管结石取出装置
南昌大学第二附属医院
一种在体小肠平滑肌运动观察实验装置
宁波市科技创新协会
金属屋面板热熔锁边防水技术
科学技术部火炬高技术产业开发中心技术市场与成果转化处
手术拉钩
南昌大学第二附属医院
一种滑溜水转向压裂用可控自降解暂堵剂的制备方法
四川省威沃敦化工有限公司
人防工程隐蔽出入口电动液压升降平台技术研发
科学技术部火炬高技术产业开发中心技术市场与成果转化处
烟囱顶口防结冰应用技术
科学技术部火炬高技术产业开发中心技术市场与成果转化处
一种水环境检测分析装置
温州科技大市场
密闭空间环境净化用关键材料与装备
上海硅酸盐研究所
现代化医院品牌建设发展研究与管理
科学技术部火炬高技术产业开发中心技术市场与成果转化处
共16046页 转到