基于离子印迹识别的IPTP传感器及其制备方法与应用
南华大学
一种含钪铀矿中分离钪、铀的方法
南华大学
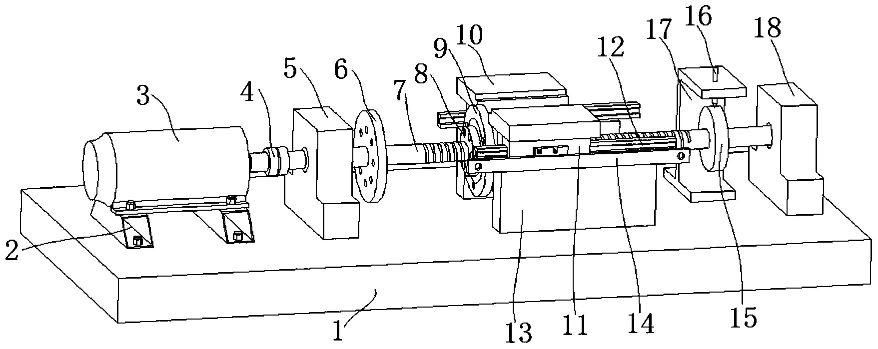
一种塔筒加工用筒体用支撑装置
山东启明风电有限公司
一种浮选碳酸铀酰离子的捕收剂及其制备方法和应用
南华大学
用于砂岩铀矿的表面活性剂联合酸法地浸的采铀方法
南华大学
一种海底采矿设备的矿浆分离装置
南华大学
一种新型管类零件检测装置
江西昌河汽车有限责任公司
正置荧光显微镜
西安理工大学
一种低品位镍矿的植物采镍方法
南华大学
一种背光颜色可变的调光开关
江西昌河汽车有限责任公司
一种煤矿井下近水平钻进用定向钻进工具
南华大学
一种下向进路充填采矿方法
南华大学
一种新型的自复位旋钮式点火启动开关结构
江西昌河汽车有限责任公司
飞行式旋风除尘装置
南华大学
一种带筋铝箔管材的切断装置
南华大学
一种用于固定线束走向的搭接式卡扣
江西昌河汽车有限责任公司
一种作物生长期手持式土壤定点灭杀装置
温州科技大市场
一种汽车吊点安装支架结构
江西昌河汽车有限责任公司
一种节能环保的农药自控式喷洒设备
温州科技大市场
昂坤设备在SiC检测领域的最新进展
中关村产业产业技术联盟联合会
共16046页 转到