科创中国
问题分诊室
具身智能与智慧医疗融合创新产业
高性能装备制造产业
智能机器人全产业链产业
中医药产业
人工智能产业
新一代信息技术产业
作物产业
量子科技与先进制造产业
海洋装备产业
煤炭开采及煤化工产业
特殊钢产业
节能环保产业
低空经济产业
光电产业
汽车产业
新能源产业
新材料产业
“以竹代塑”
成果发布厅
新型电力系统
化学领域
现代纺织
低空经济
信息通信
智慧公路
煤炭开采及煤化工
中医药
智能机器人全产业链
海洋装备
新一代信息技术
量子科技与先进制造
人工智能
高性能装备制造
具身智能与智慧医疗融合创新
作物
科创地方
科创北京
科创天津
科创内蒙古
科创辽宁
科创江苏
科创广西
科创广东
科创重庆
科创宁夏
科创河北
科创山东
科创河南
科创福建
科创湖南
科创黑龙江
科创湖北
科创浙江
科创山西
科创资讯
科创头条
科协活动
通知公告
科技政策
技术经理人
科技服务团
资源中心
项目库
问题库
案例库
开源库
学术资源
会议展览
品牌栏目
院士开讲
解码新质生产力
金融服务云课堂
企创云课堂
有问题想咨询
有成果想转化
我的交易
我的会议
我报名的路演会议
我的资讯
我的消息
我的动态
我的需求
我的成果
我的
个人资料编辑
退出登录
登录/注册
科创中国
需求发布
成果发布
科创案例库
揭榜挂帅
技术经理人
会议展览
科创联合体
科技服务团
科创资讯
科技政策
院士开讲
学术资源
城市站点
协作站点
搜索
问题库
项目库
开源库
English
我的交易
我的会议
我报名的路演会议
我的资讯
我的消息
我的动态
我的需求
我的成果
我的
个人资料编辑
退出登录
登录/注册
组织入驻
隐藏工作区
全国
在线展厅
切换展厅
全国
北京市
天津市
河北省
山西省
内蒙古
辽宁省
吉林省
黑龙江省
上海市
江苏省
浙江省
安徽省
福建省
江西省
山东省
河南省
湖北省
湖南省
广东省
广西
海南省
重庆市
四川省
贵州省
云南省
西藏
陕西省
甘肃省
青海省
宁夏
新疆
新疆兵团
路演活动
科技成果
参观
人数
0
0
0
0
0
0
0
点赞
人数
0
0
0
0
0
0
0
技术领域
全部
新兴行业
|
新基建
|
电子信息
|
高端产业
|
生物医药
|
石化与新材料
|
智能机械与光机电一体化
|
节能环保
|
新能源
|
现代农业
|
高端技术服务业
|
农林牧副渔
|
城建规划
|
文化创意
|
矿山工程
|
冶金工程
|
企业管理
|
知识产权
|
智库咨询
|
旅游休闲娱乐
|
企业发展服务
|
电子商务
|
纺织
|
其他
|
更多
无人自动污水处理船蜂群控制系统
南华大学
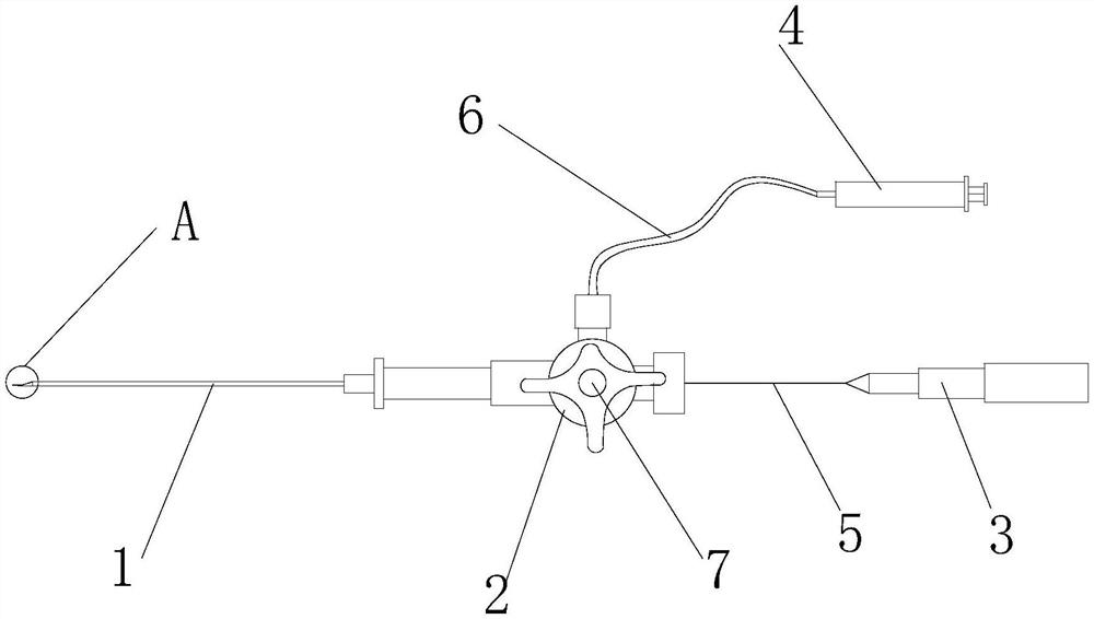
一种新型增强超声显影穿刺针
南昌大学第二附属医院
一种2,3,6,7-四溴代萘四羧酸二酰亚胺化合物、制备及用途
宁波市科技创新协会
3D舌象仪
天津中医药大学科技成果转化中心
硫杂环稠合的萘二酰亚胺类化合物、制备方法和应用
宁波市科技创新协会
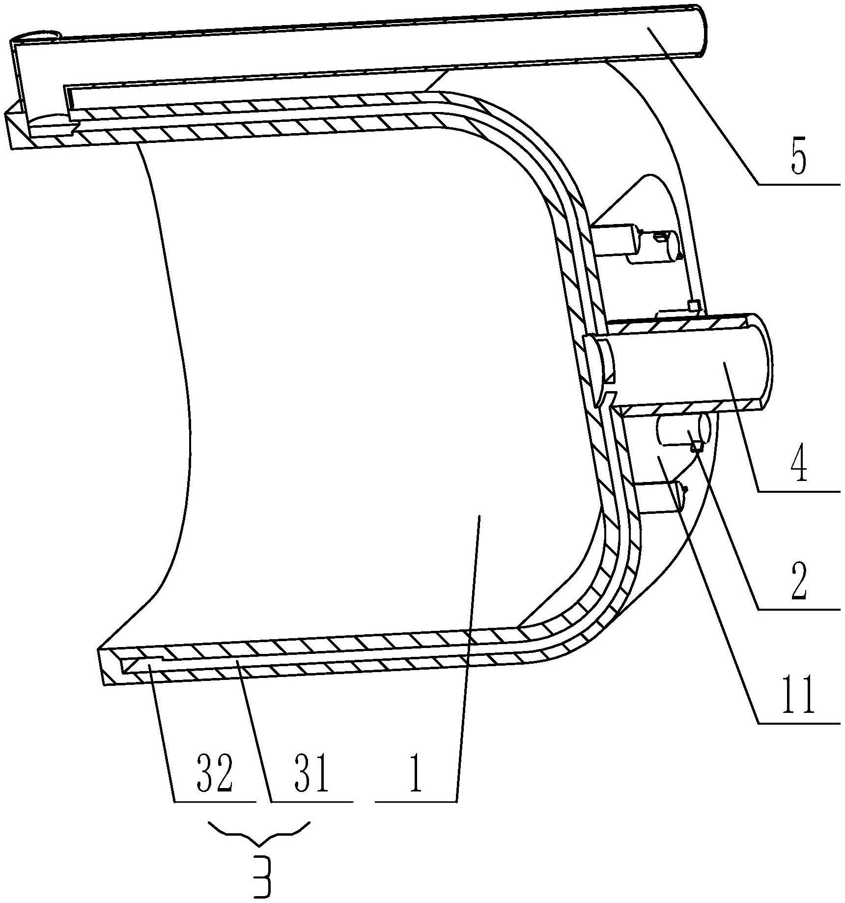
一种手术室用医疗器械存放装置
南昌大学第二附属医院
黑龙江省固体矿产绿色勘查技术规范
科学技术部火炬高技术产业开发中心技术市场与成果转化处
甘松提取物及化学成分防治消化道与精神类疾病的应用
天津中医药大学科技成果转化中心
顶空固相微萃取气相色谱-串联质谱在检测固体样品中增塑剂含量的方法
宁波市科技创新协会
从废渣中制取铂、铑、钯有机中间体及其应用
嘉兴学院
一种生鲜物流运输用包装循环控制系统及控制方法
南华大学
麻醉科用于术中脑保护的可变温冰帽
南昌大学第二附属医院
高寒林区枸杞引种及丰产栽培技术研究
科学技术部火炬高技术产业开发中心技术市场与成果转化处
大负重比多足机器人支撑腿下肢机构
天津职业技术师范大学科技成果转化服务中心
一种具有宽带及滤波特性的高增益贴片天线
博士创新(深圳)科技服务有限公司
卤代苯基吡啶基双亚胺后过渡金属配合物、合成方法及用途
宁波市科技创新协会
基于ARM架构的数据中心处理器
深圳市遇贤微电子有限公司
完全重力平衡的6自由度串联式主手机器人
天津大学技术转移中心
乙烯齐聚催化剂、合成方法和用途
宁波市科技创新协会
一种放射性废渣的固化方法
南华大学
首页
上一页
2685
2686
2687
2688
2689
2690
2691
下一页
尾页
共15998页 转到
页