检测轴端平面矩形槽对称度的装置
四川凌峰航空液压机械有限公司
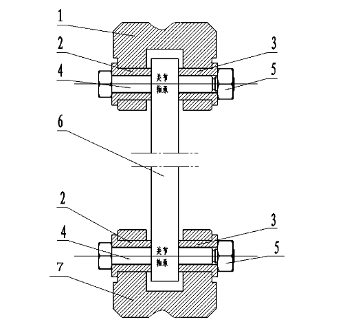
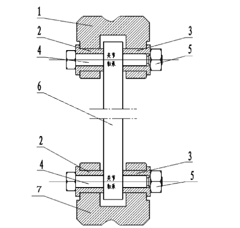
关节轴承间隙检测装置
四川凌峰航空液压机械有限公司
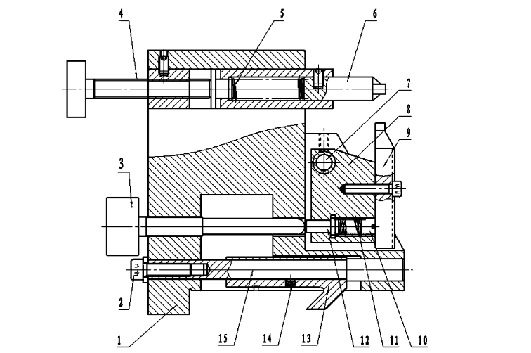
不同种类双关节轴承夹头切换工装
四川凌峰航空液压机械有限公司
液压助力器性能试验台快速装卸更换固定机构
四川凌峰航空液压机械有限公司
磨床外磨砂轮轨弹性支座
四川凌峰航空液压机械有限公司
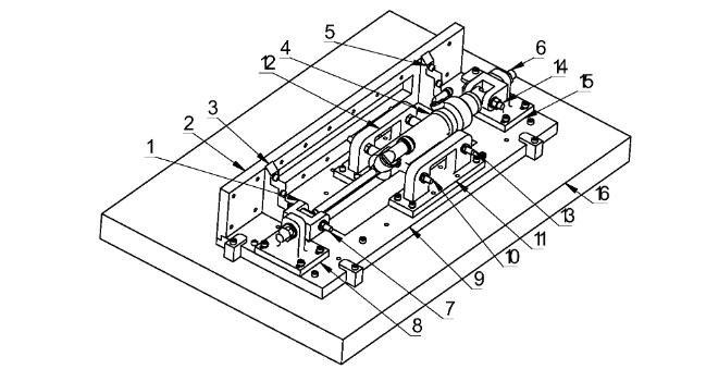
作动筒振动冲击试验夹具
四川凌峰航空液压机械有限公司
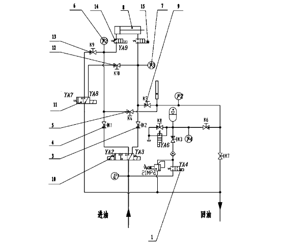
动态试验台供回油液压循环系统
四川凌峰航空液压机械有限公司
一种电动剃须泡沫喷涂器
宁波博高国际贸易有限公司
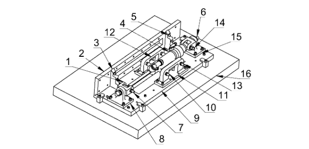
振动模拟作动筒物理量的装夹工装
四川凌峰航空液压机械有限公司
测试带载轴承摩擦力矩的装置
四川凌峰航空液压机械有限公司
轴端矩形键槽平面对称度位置误差的检测方法
四川凌峰航空液压机械有限公司
快速检测关节轴承间隙的方法
四川凌峰航空液压机械有限公司
一种固定于盔甲上的记录显示装置
宁波博高国际贸易有限公司
一种电子美容保健面具
宁波博高国际贸易有限公司
LED照明用超薄荧光玻璃
江苏师范大学
一种修复聚酰胺复合膜水处理性能的方法
中国科学院生态环境研究中心
环境中苯并三唑紫外线吸收剂类污染物的全面识别方法
中国科学院生态环境研究中心
水中隐孢子虫感染活性检测方法
中国科学院生态环境研究中心
一种用于去除VOCs的催化剂及其制备方法和用途
中国科学院生态环境研究中心
数据安全四级防护与高价值数据资产确权交易的产品及解决方案
北京市科学技术研究所
共15998页 转到