退化草原免耕多品种混补播施肥技术与装备
国农业机械化科学研究院呼和浩特分院有限公司
舰载垂直发射载荷的近距投放方法
北京机械设备研究所
柠条灌木平茬收获技术与装备
中国农业机械化科学研究院呼和浩特分院有限公司
基于云平台的网络信息加密传输方法
北京双鑫汇在线科技有限公司
多普勒搜索雷达状态稳定性智能检测系统
零八一电子集团有限公司
雷达方位锁安全离合器
零八一电子集团有限公司
保护性耕作作业质量智能云监管方法及装备
中国农业机械化科学研究院集团有限公司
非周期矩形阵列排布的二维相控阵天线
零八一电子集团有限公司
波束扫描雷达超分辨目标测向方法
零八一电子集团有限公司
耐高温共形微带贴片天线
零八一电子集团有限公司
CO2气调处理对鲜莲贮藏品质的影响
浙江省农业科学院
体外模拟消化对核桃主成分代谢及抗氧化特性的影响
浙江省农业科学院
基于数字孪生的智能制造解决方案
重庆邮电大学
一种水煤浆气化粗煤气洗涤塔
新疆天业(集团)有限公司
一种蒸汽冷凝液自动回收装置
新疆天业(集团)有限公司
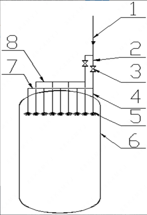
一种首部多系统离心泵前连通注水管系统装置
新疆天业(集团)有限公司
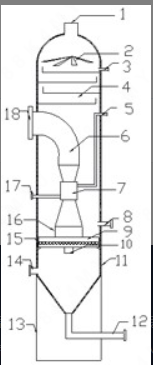
一种煤气化废水沉淀池
新疆天业(集团)有限公司
一种便携式旧管板焊缝坡口机
新疆天业(集团)有限公司
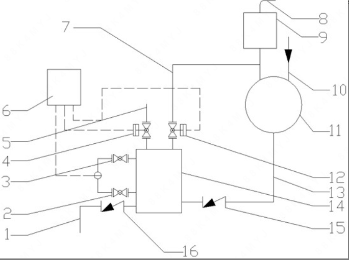
一种氯乙烯生产中混合气冷冻脱水的装置
新疆天业(集团)有限公司
一种干式发生器注水系统
新疆天业(集团)有限公司
共15998页 转到