四川盆地深层碳酸盐岩多波地震勘探技术及应用
哈尔滨理工大学
研制标准《工业品质量分级评价规则 锅炉和压力容器用钢板》
中国标准化协会
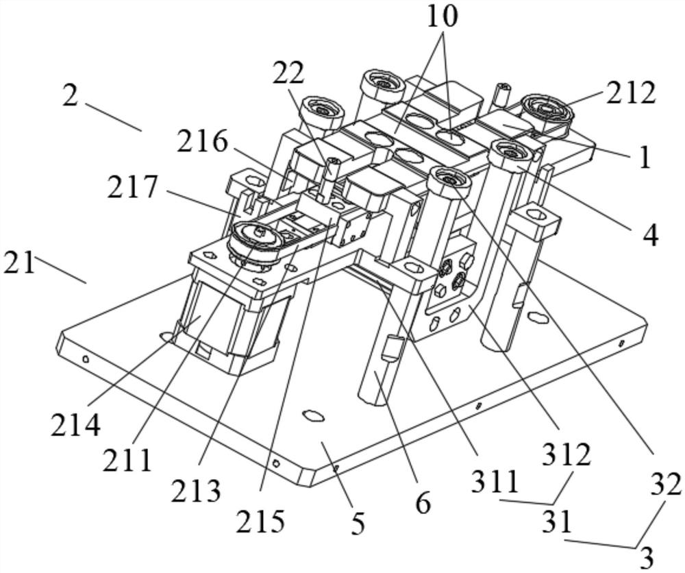
万向移动式线缆收理器
广汉川亿石油科技有限公
非常规气藏开发井下关键装备研制与应用
哈尔滨理工大学
自动化无线感应收线设备
广汉川亿石油科技有限公
第三代核电AP1000蒸汽发生器整体锻造水室封头研制
哈尔滨理工大学
新一代天气雷达测试与故障检测技术研究
哈尔滨理工大学
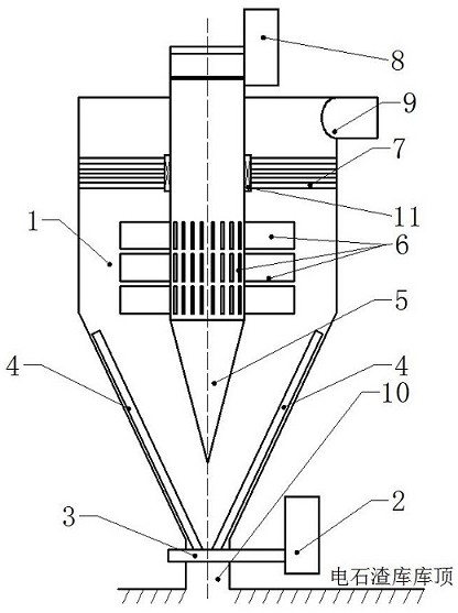
试气钻采系统中的旋流除砂装置
广汉川亿石油科技有限公
环境气体微痕量有害成分量值溯源关键技术研究
哈尔滨理工大学
废弃印刷线路板元器件无损拆解回收处理和再利用技术
北京航空航天大学
一种井下节流器
广汉川亿石油科技有限公
相干强太赫兹源科学仪器设备
哈尔滨理工大学
LED灯具芯片壳体
宁波市北仑海普汽配有限公司
一种全天候除霾光电池板装置
科学技术部火炬高技术产业开发中心技术市场与成果转化处
一种大豆高产高效栽培方法
温州科技大市场
高效低阻防毒面具用复合滤材研发
宁波益加科创服务有限公司
超声波强化污水、污泥处理技术
北京航空航天大学
一种试气现场用视频监控装置
广汉川亿石油科技有限公
双向凸轮轴耐力前轴承盖
宁波银润汽车部件有限公司
一种高压装饰原纸的制备工艺
牡丹江恒丰纸业股份有限公司
共16046页 转到