科创中国
问题分诊室
具身智能与智慧医疗融合创新产业
高性能装备制造产业
智能机器人全产业链产业
中医药产业
人工智能产业
新一代信息技术产业
作物产业
量子科技与先进制造产业
海洋装备产业
煤炭开采及煤化工产业
特殊钢产业
节能环保产业
低空经济产业
光电产业
汽车产业
新能源产业
新材料产业
“以竹代塑”
成果发布厅
新型电力系统
化学领域
现代纺织
低空经济
信息通信
智慧公路
煤炭开采及煤化工
中医药
智能机器人全产业链
海洋装备
新一代信息技术
量子科技与先进制造
人工智能
高性能装备制造
具身智能与智慧医疗融合创新
作物
科创地方
科创北京
科创天津
科创内蒙古
科创辽宁
科创江苏
科创广西
科创广东
科创重庆
科创宁夏
科创河北
科创山东
科创河南
科创福建
科创湖南
科创黑龙江
科创湖北
科创浙江
科创山西
科创资讯
科创头条
科协活动
通知公告
科技政策
技术经理人
科技服务团
资源中心
项目库
问题库
案例库
开源库
学术资源
会议展览
品牌栏目
院士开讲
解码新质生产力
金融服务云课堂
企创云课堂
有问题想咨询
有成果想转化
我的交易
我的会议
我报名的路演会议
我的资讯
我的消息
我的动态
我的需求
我的成果
我的
个人资料编辑
退出登录
登录/注册
科创中国
需求发布
成果发布
科创案例库
揭榜挂帅
技术经理人
会议展览
科创联合体
科技服务团
科创资讯
科技政策
院士开讲
学术资源
城市站点
协作站点
搜索
问题库
项目库
开源库
English
我的交易
我的会议
我报名的路演会议
我的资讯
我的消息
我的动态
我的需求
我的成果
我的
个人资料编辑
退出登录
登录/注册
组织入驻
隐藏工作区
全国
在线展厅
切换展厅
全国
北京市
天津市
河北省
山西省
内蒙古
辽宁省
吉林省
黑龙江省
上海市
江苏省
浙江省
安徽省
福建省
江西省
山东省
河南省
湖北省
湖南省
广东省
广西
海南省
重庆市
四川省
贵州省
云南省
西藏
陕西省
甘肃省
青海省
宁夏
新疆
新疆兵团
路演活动
科技成果
参观
人数
0
0
0
0
0
0
0
点赞
人数
0
0
0
0
0
0
0
技术领域
全部
新兴行业
|
新基建
|
电子信息
|
高端产业
|
生物医药
|
石化与新材料
|
智能机械与光机电一体化
|
节能环保
|
新能源
|
现代农业
|
高端技术服务业
|
农林牧副渔
|
城建规划
|
文化创意
|
矿山工程
|
冶金工程
|
企业管理
|
知识产权
|
智库咨询
|
旅游休闲娱乐
|
企业发展服务
|
电子商务
|
纺织
|
其他
|
更多
耐高低温高剪切高剥离胶粘剂
北京航空航天大学
电容器用高性能介电复合材料
北京航空航天大学
一种基于反射式点衍射的双载频双波长数字全息检测装置
黑龙江大学
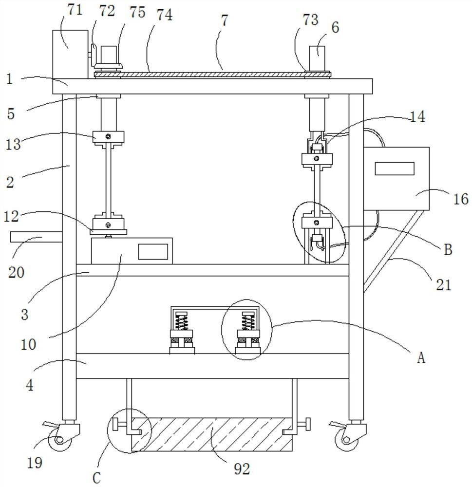
一种用于光缆的扭转试验装置
常州大学
户外工程灯体
宁波精磊机械有限公司
本项目可以采用技术转让、技术合作等多种形式进行对接,欢迎有需求的企业单位联系洽谈。
宁波精磊机械有限公司
基于单目的双排滚针轴承缺针检测方法
常州大学
多级齿轮减速器壳体
宁波精磊机械有限公司
多功能草地机压铸壳体
宁波精磊机械有限公司
省级大规模数字化配电平台
中国电工技术学会
便携式野外应急装置
东北石油大学
特殊工况防爆灯精密压铸灯体
宁波精磊机械有限公司
难处理超细黄金尾砂高效浓密与均质充填技术
山东国环固废创新科技中心有限公司
大型船舶用碳纤维复合材料翼型帆叶
威海光晟航空航天科技有限公司
气相法制备无水氯化稀土的系统的制作方法
赣州有色冶金研究所
基于电化学传感的海洋二氧化碳分压在线监测系统
中国科学院烟台海岸带研究所
新能源汽车集成支架
宁波精磊机械有限公司
轻量化铝合金钢琴中盘
宁波精磊机械有限公司
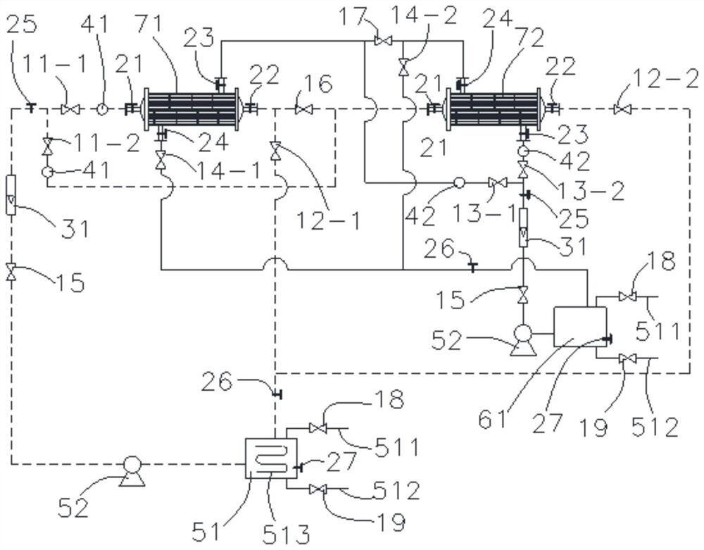
一种精确的传热综合实验装置
常州大学
深海生物功能基因原位检测与传感系统研制
哈尔滨理工大学
首页
上一页
2488
2489
2490
2491
2492
2493
2494
下一页
尾页
共16004页 转到
页