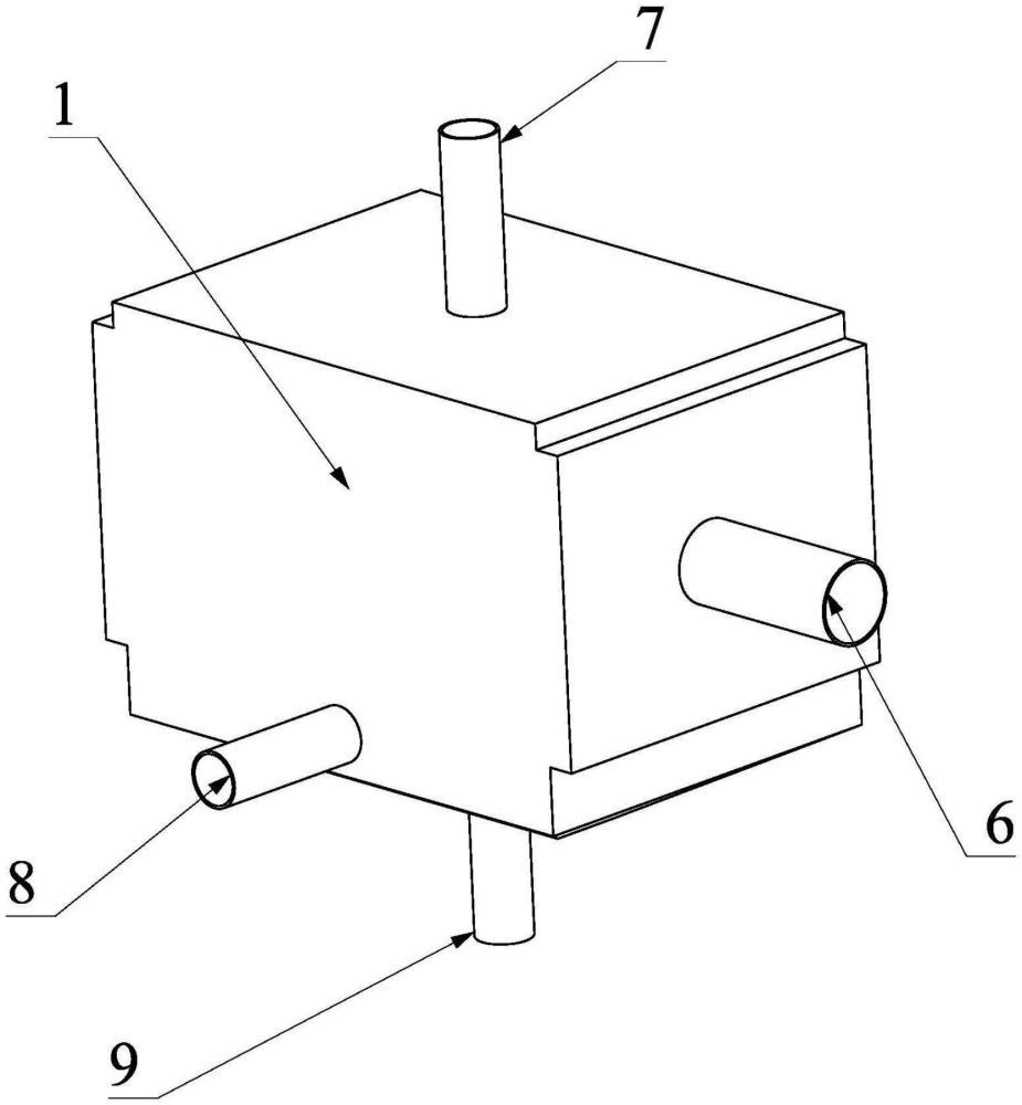
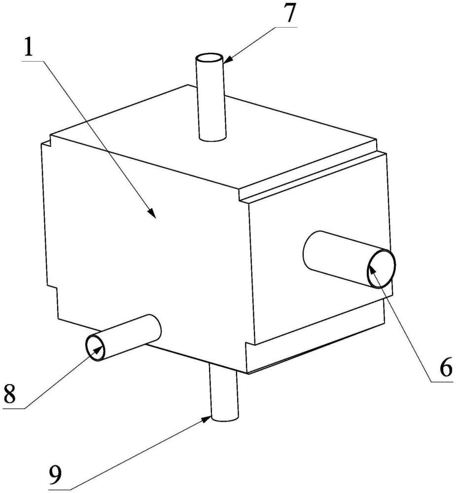
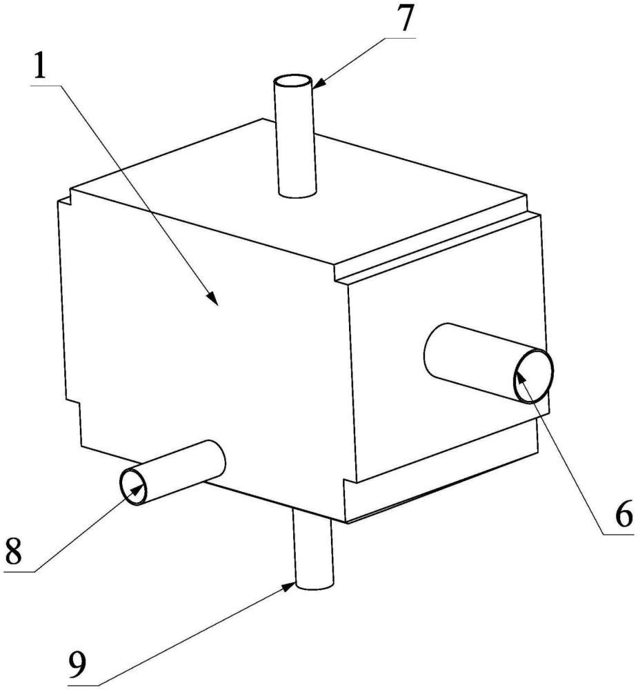
一种冻干榴莲银耳粥的制备装置及其制备方法
爱巢生物科技(常州)有限公司
基于电子产品的智能工业互联网真评测系统V1.0
桂林伯爵电子科技有限公司
一种保险丝涂锡装置
苏州新吴光电股份有限公司
一种侧链含双硫五元环功能基团的碳酸酯聚合物在制备药物控制释放载体中的应用
苏州大学
冬虫夏草冻干工艺
爱巢生物科技(常州)有限公司
禽蛋加工预处理装置及其使用方法
爱巢生物科技(常州)有限公司
一种用于食品储存的冷冻干燥装置
爱巢生物科技(常州)有限公司
一种冷阱舱体
爱巢生物科技(常州)有限公司
纳米碳管增强 WC-Co 硬质合金
宁波益加科创服务有限公司
含双硫五元环功能基团的环状碳酸酯单体及其制备方法
苏州大学
一种荔枝榴莲冻干工艺
爱巢生物科技(常州)有限公司
一种智能化建筑垃圾再生利用的轻物质分离装置
常州工学院
一种可倾斜升降单托外伸式贮箱对接架车
火箭派(太仓)航天科技有限公司
自适应多尺度暗通道先验的水下目标探测图像增强方法
常州工学院
一种具有防撞机构的冻干食品储藏箱
爱巢生物科技(常州)有限公司
一种基于全光纤的城市地下管廊多参量综合监测方法
苏州南智传感科技有限公司
一种燕窝冻干工艺
爱巢生物科技(常州)有限公司
钯催化下惰性烯烃的区域可控性还原Heck反应研究
宁波益加科创服务有限公司
一种抬头显示模组及车辆
苏州大学
一种白芍中药冻干工艺
爱巢生物科技(常州)有限公司
共16004页 转到