一种农业废弃物加工的有机肥及其加工装置与加工方法
中国煤炭学会
对涡激振动、驰振、尾流驰振等气动弹性现象在风能俘获系统上的应用
武进区科技成果转移中心
自动化超声检测技术(电池)
武进区科技成果转移中心
异质材料增材制造界面构筑及性能强化技术
武进区科技成果转移中心
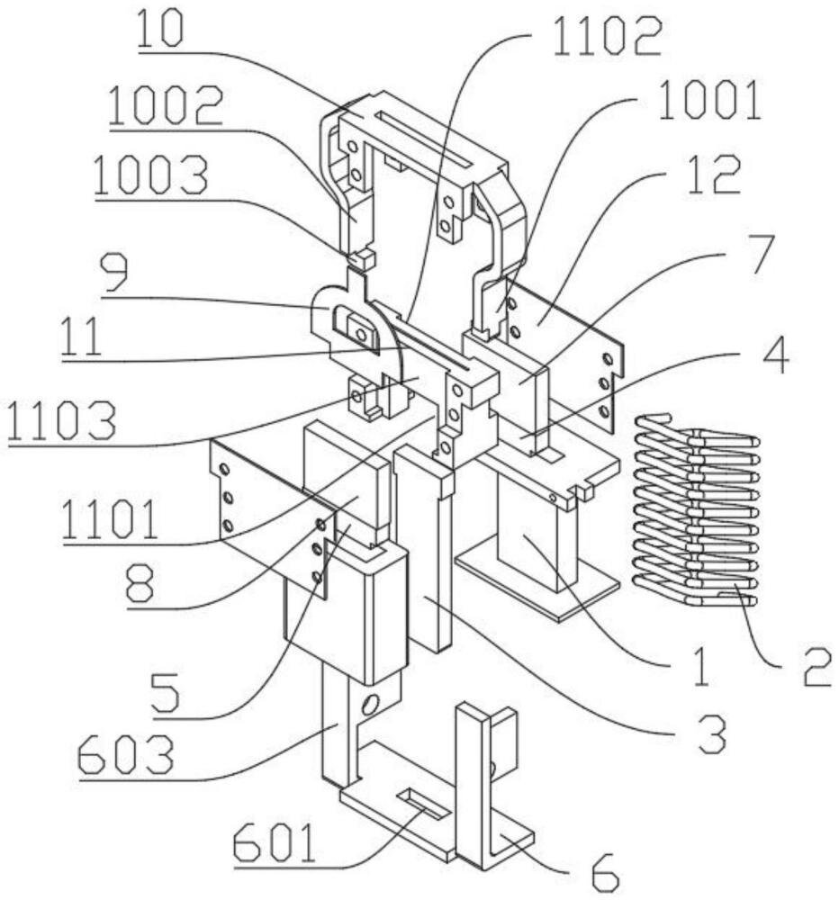
一种双磁铁摆动式自发电装置及无线开关
常州工学院
智能伺服压装系统
武进区科技成果转移中心
基于共生双流卷积网络和数字图像的油炸食品检测系统
武进区科技成果转移中心
一种氮化钛气凝胶的制备方法
常州工学院
模具表面激光选区微织构技术
武进区科技成果转移中心
超强抗弯曲损耗光纤
武进区科技成果转移中心
一种组合式凸轮轴扭矩角度检测机
浙江中意启迪科技城建设投资有限公司
微波无损探测分析仪
武进区科技成果转移中心
物理法制备石墨烯粉体
上海超碳石墨烯产业技术有限公司
太赫兹片上天线
武进区科技成果转移中心
一种采用回油压差作先导油源的多路电液控制阀的发明专利
浙江中意启迪科技城建设投资有限公司
一种晶硅光伏组件中电池材料分离回收装置
常州工学院
水性石墨烯散热涂层
上海超碳石墨烯产业技术有限公司
乳铁蛋白多肽药物的开发利用
宁波益加科创服务有限公司
一种微生物肥料及其发酵系统与方法
中国煤炭学会
应用于农作物基地使用的蓝牙无线传输温湿检测系统
浙江中意启迪科技城建设投资有限公司
共16004页 转到