一种阻燃性羊毛织物及其制备方法
苏州大学
一种基于概念分解的半监督文档分类方法及系统
苏州大学
一种盆底修复网片及盆底修复的植入系统
苏州大学
光催化降解 吸附材料的制备方法与应用
苏州大学
一种数据填充方法及系统
苏州大学
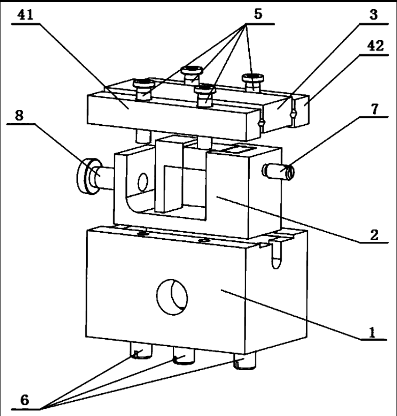
驱动单元模块化粘滑驱动定位平台
苏州大学
基于罗丹明B、四亚乙基五胺和异硫氰酸苯酯的荧光探针及其制备方法和应用
苏州大学
一种圆片磷酸铝/热固性树脂复合材料及其制备方法
苏州大学
精加工前薄壁结构件自动排列定位机及排列定位方法
苏州大学
低成本高纯度纳豆激酶的生产技术
中国科学院力学研究所
基于数字骨力学的精准医疗技术
中国科学院力学研究所
生物人工肝的关键技术
中国科学院力学研究所
自产电同步驱动废酸废碱处理及驱动高盐废水脱盐
上海交通大学
一种利用中美水稻远缘杂交和花药培养技术的聚合育种法
山东笨笨农业科技有限公司
​碳纳米管芯片技术
北京大学科技开发部
组合办公盒
湖北文理学院
折叠式多用途锉刀
湖北文理学院
低压液溶气含量测量仪
湖北文理学院
可发光的笔
湖北文理学院
一种制备酞菁微纳米结构的方法
常州大学
共16004页 转到