科创中国
问题分诊室
具身智能与智慧医疗融合创新产业
高性能装备制造产业
智能机器人全产业链产业
中医药产业
人工智能产业
新一代信息技术产业
作物产业
量子科技与先进制造产业
海洋装备产业
煤炭开采及煤化工产业
特殊钢产业
节能环保产业
低空经济产业
光电产业
汽车产业
新能源产业
新材料产业
“以竹代塑”
成果发布厅
新型电力系统
化学领域
现代纺织
低空经济
信息通信
智慧公路
煤炭开采及煤化工
中医药
智能机器人全产业链
海洋装备
新一代信息技术
量子科技与先进制造
人工智能
高性能装备制造
具身智能与智慧医疗融合创新
作物
科创地方
科创北京
科创天津
科创内蒙古
科创辽宁
科创江苏
科创广西
科创广东
科创重庆
科创宁夏
科创河北
科创山东
科创河南
科创福建
科创湖南
科创黑龙江
科创湖北
科创浙江
科创山西
科创资讯
科创头条
科协活动
通知公告
科技政策
技术经理人
科技服务团
资源中心
项目库
问题库
案例库
开源库
学术资源
会议展览
品牌栏目
院士开讲
解码新质生产力
金融服务云课堂
企创云课堂
有问题想咨询
有成果想转化
我的交易
我的会议
我报名的路演会议
我的资讯
我的消息
我的动态
我的需求
我的成果
我的
个人资料编辑
退出登录
登录/注册
科创中国
需求发布
成果发布
科创案例库
揭榜挂帅
技术经理人
会议展览
科创联合体
科技服务团
科创资讯
科技政策
院士开讲
学术资源
城市站点
协作站点
搜索
问题库
项目库
开源库
English
我的交易
我的会议
我报名的路演会议
我的资讯
我的消息
我的动态
我的需求
我的成果
我的
个人资料编辑
退出登录
登录/注册
组织入驻
隐藏工作区
全国
在线展厅
切换展厅
全国
北京市
天津市
河北省
山西省
内蒙古
辽宁省
吉林省
黑龙江省
上海市
江苏省
浙江省
安徽省
福建省
江西省
山东省
河南省
湖北省
湖南省
广东省
广西
海南省
重庆市
四川省
贵州省
云南省
西藏
陕西省
甘肃省
青海省
宁夏
新疆
新疆兵团
路演活动
科技成果
参观
人数
0
0
0
0
0
0
0
点赞
人数
0
0
0
0
0
0
0
技术领域
全部
新兴行业
|
新基建
|
电子信息
|
高端产业
|
生物医药
|
石化与新材料
|
智能机械与光机电一体化
|
节能环保
|
新能源
|
现代农业
|
高端技术服务业
|
农林牧副渔
|
城建规划
|
文化创意
|
矿山工程
|
冶金工程
|
企业管理
|
知识产权
|
智库咨询
|
旅游休闲娱乐
|
企业发展服务
|
电子商务
|
纺织
|
其他
|
更多
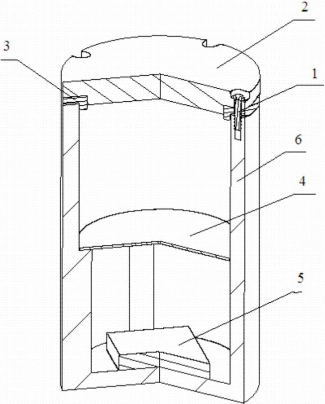
一种缝纫机的防鸟巢装置
舒普智能技术股份有限公司
全天时星图与天空背景复合模拟装置的偏振效应抑制方法
常州工学院
一种热转印标机的进料机构
舒普智能技术股份有限公司
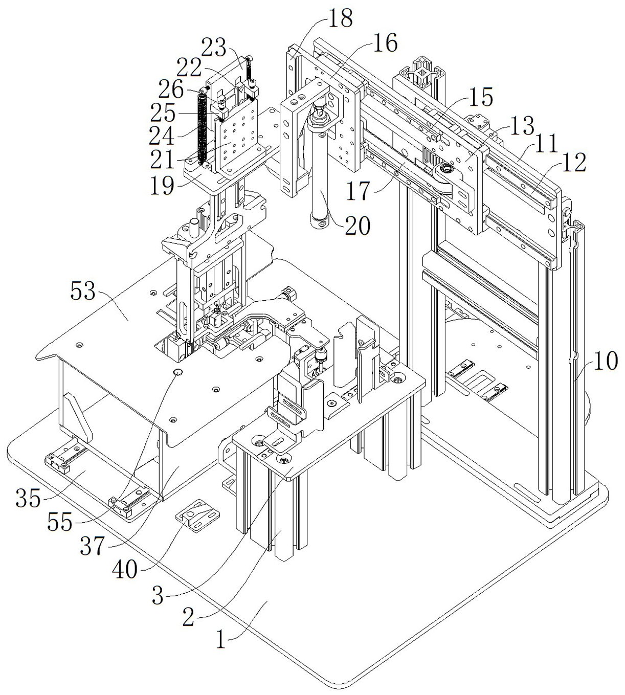
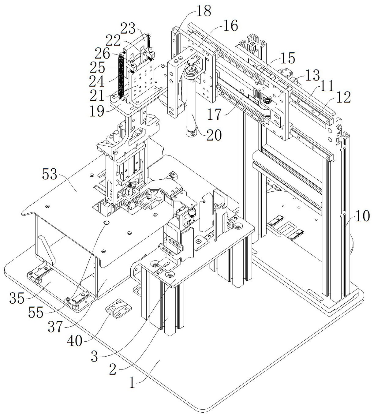
一种用于圆头拉链的缝制模组
舒普智能技术股份有限公司
一种用于检测水体中金属离子浓度的光驱动自供能适配体传感器、制备方法及应用
常州工学院
车架焊接组件工装
宁波市北仑区新碶街道大港社区服务中心
一种胸衣订标机的胸衣夹持机构
舒普智能技术股份有限公司
中纤板粉末喷涂工艺
山东方都装饰材料有限公司
一种打标装置、打标系统及打标方法
苏州大学
一种胸衣订标机的抓料折叠机构
舒普智能技术股份有限公司
一种高爆高压环境下基于共形天线设计的测试装置
苏州大学
压缩机技术类项目2
西安交通大学
金属、塑料、玻璃自动分类装备综合管理系统
宁波市北仑区新碶街道大港社区服务中心
花菜种植用新型滴灌管
安徽云中生态农业开发股份有限公司
速测半导体显微镜3D全自动检测
东莞速测检测设备有限公司
负载电机电器性能数据检测设备日常养护管理系统
宁波市北仑区新碶街道大港社区服务中心
一种嵌件注塑产品的浮动嵌件定位模具结构
宁波天龙电子股份有限公司
一种有机-无机杂化光电化学阳极电极及其制备方法
苏州大学
一种分离器轴的制造方法
慈溪市汽车零部件行业协会
一种可防止管口拉伤的二次脱膜机构
宁波天龙电子股份有限公司
首页
上一页
2215
2216
2217
2218
2219
2220
2221
下一页
尾页
共15998页 转到
页