农机农艺融合推动定陶农机化发展探索
菏泽市定陶区杜堂镇科学技术协会
一种玉米穗茎兼收收割台及具有该收割台的联合收获机
山东江华机械制造有限公司
一种单粉碎双抛送揉搓清选型秸秆捡拾拋送机
山东江华机械制造有限公司
农村 “ 留守儿童 ” 教育所存在的问题及对策
菏泽市定陶区杜堂镇科学技术协会
马铃薯种植农机农艺融合生产技术应用分析
菏泽市定陶区杜堂镇科学技术协会
立足乡土沃野写出个性作文
菏泽市定陶区杜堂镇科学技术协会
定陶区大豆玉米带状复合机械化种植模式探析
菏泽市定陶区杜堂镇科学技术协会
牡丹皮炭凉血活血/止血药“炒炭存性”“炒炭止血”传统炮制技术
中国化学会产学研合作与促进工作委员会
牡丹皮炭药质量专属指标的智能判别技术
中国化学会产学研合作与促进工作委员会
牡丹皮/炭凉血止血药效标志物质量控制技术与标准
中国化学会产学研合作与促进工作委员会
抗炎和抑制肿瘤牡丹皮/炭新活性天然产物炮制技术
中国化学会产学研合作与促进工作委员会
GPT技术插件扩展及定制助理服务
伯愿科技
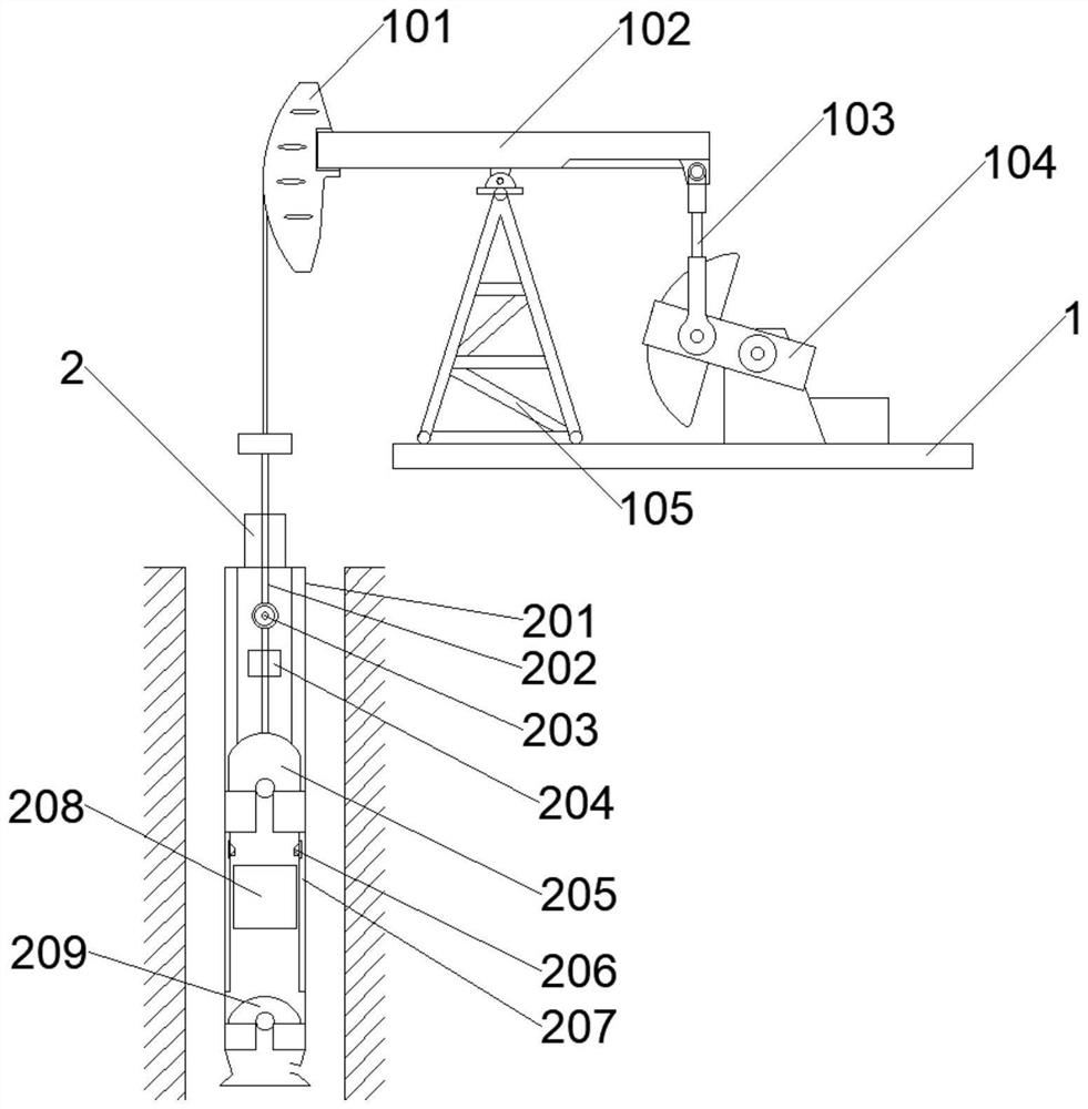
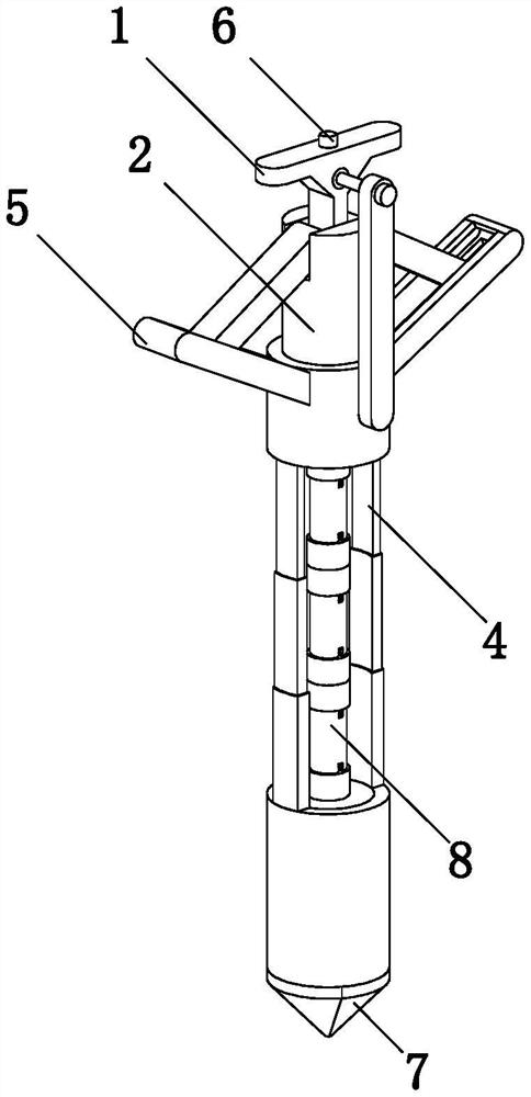
一种基于油井的智能控制装置
东北石油大学
一种加载压裂松弛地应力装置
东北石油大学
一种复杂构造大模型亚毫米尺度流体分布研究方法
东北石油大学
一种具有良好润湿性能的钐钴磁体玻璃涂层及其制备方法与流程
钢铁研究总院有限公司
一种瓦状钕铁硼永磁体的正向挤压成形装置及方法与流程
钢铁研究总院有限公司
一种复合稀土氧化物及其制备方法和应用
内蒙古科技大学
一种自动模拟大气降水增加的装置
中国科学院青藏高原研究所
一种用于雪冰样品中生物质燃烧排放有机酸的固相萃取-气相色谱质谱联用分离检测方法
中国科学院青藏高原研究所
共15998页 转到