科创中国
问题分诊室
具身智能与智慧医疗融合创新产业
高性能装备制造产业
智能机器人全产业链产业
中医药产业
人工智能产业
新一代信息技术产业
作物产业
量子科技与先进制造产业
海洋装备产业
煤炭开采及煤化工产业
特殊钢产业
节能环保产业
低空经济产业
光电产业
汽车产业
新能源产业
新材料产业
“以竹代塑”
成果发布厅
新型电力系统
化学领域
现代纺织
低空经济
信息通信
智慧公路
煤炭开采及煤化工
中医药
智能机器人全产业链
海洋装备
新一代信息技术
量子科技与先进制造
人工智能
高性能装备制造
具身智能与智慧医疗融合创新
作物
科创地方
科创北京
科创天津
科创内蒙古
科创辽宁
科创河北
科创湖南
科创宁夏
科创广东
科创江苏
科创广西
科创重庆
科创山东
科创河南
科创福建
科创黑龙江
科创湖北
科创浙江
科创山西
科创资讯
科创头条
科协活动
通知公告
科技政策
技术经理人
科技服务团
资源中心
项目库
问题库
案例库
开源库
会议展览
品牌栏目
院士开讲
解码新质生产力
金融服务云课堂
企创云课堂
有问题想咨询
有成果想转化
我的交易
我的会议
我报名的路演会议
我的资讯
我的消息
我的动态
我的需求
我的成果
我的
个人资料编辑
退出登录
登录/注册
科创中国
需求发布
成果发布
科创案例库
揭榜挂帅
技术经理人
会议展览
科创联合体
科技服务团
科创资讯
科技政策
院士开讲
学术资源
城市站点
协作站点
搜索
问题库
项目库
开源库
English
我的交易
我的会议
我报名的路演会议
我的资讯
我的消息
我的动态
我的需求
我的成果
我的
个人资料编辑
退出登录
登录/注册
组织入驻
隐藏工作区
全国
在线展厅
切换展厅
全国
北京市
天津市
河北省
山西省
内蒙古
辽宁省
吉林省
黑龙江省
上海市
江苏省
浙江省
安徽省
福建省
江西省
山东省
河南省
湖北省
湖南省
广东省
广西
海南省
重庆市
四川省
贵州省
云南省
西藏
陕西省
甘肃省
青海省
宁夏
新疆
新疆兵团
路演活动
科技成果
参观
人数
0
0
0
0
0
0
0
点赞
人数
0
0
0
0
0
0
0
技术领域
全部
新兴行业
|
新基建
|
电子信息
|
高端产业
|
生物医药
|
石化与新材料
|
智能机械与光机电一体化
|
节能环保
|
新能源
|
现代农业
|
高端技术服务业
|
农林牧副渔
|
城建规划
|
文化创意
|
矿山工程
|
冶金工程
|
企业管理
|
知识产权
|
智库咨询
|
旅游休闲娱乐
|
企业发展服务
|
电子商务
|
纺织
|
其他
|
更多
特种聚合物闪蒸沉析斧
山东艾贝森新材料科技有限公司
基于时间敏感网络的远程电力故障监测系统及方法
国网湖北省电力有限公司电力科学研究院
生态小城镇水系统构建模式示范研究
南开科协
中碱玻璃纤维纱组件及其制备系统
山东铭泰新型材料有限公司
一种含有聚酰胺链段的梳型共聚物的制备方法
苏州大学
保护地主要蔬菜安全生产技术的研究与示范
南开科协
一种科尔皮兹振荡器
苏州大学
锂离子电池新型正极系列材料开发及产业化
南开科协
一种用于农药生产的原料储存桶
山东仕邦农化有限公司
“纳米梦工坊”移动纳米科普箱
上海市纳米科技与产业发展促进中心
200米水深级海洋石油工程建设技术及应用
南开科协
基于弹性匹配的目标识别方法
苏州大学
纳米标准物质及其相关纳米产品的规模化生产
上海市纳米科技与产业发展促进中心
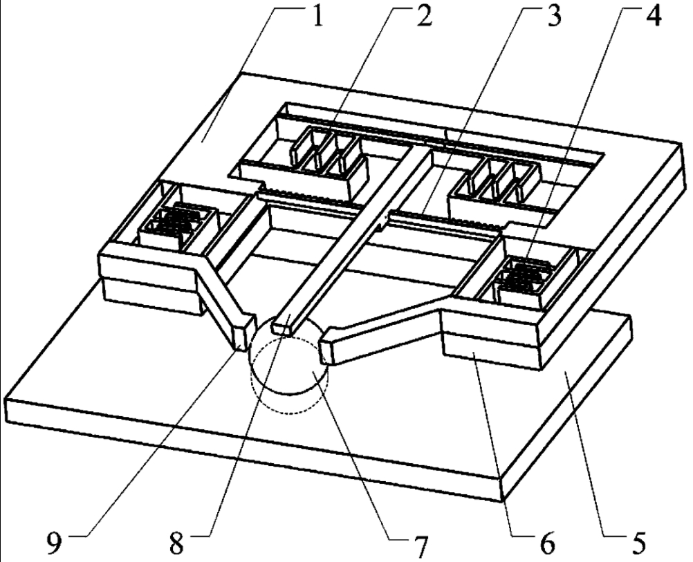
微驱动装置及包含该装置的电磁控制驱动的微型冲压机
苏州大学
狭小隧洞穿管施工工法
青海省水利水电工程局有限责任公司
用于电子显微镜灯丝的自动对中调节装置
上海市纳米科技与产业发展促进中心
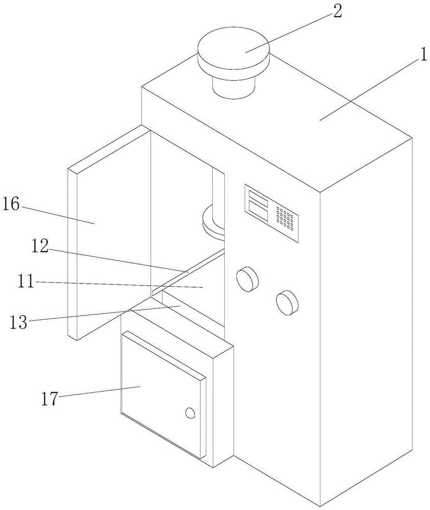
一种具有良好缓冲保护功能的线束定位装置
菏泽金泓电子有限公司
锂离子二次电池正极材料及其制备方法
苏州大学
GIS气室气体湿度在线处理装置及方法
国网湖北电力有限公司电力科学研究院
薄膜热电性质测量仪
上海市纳米科技与产业发展促进中心
首页
上一页
2088
2089
2090
2091
2092
2093
2094
下一页
尾页
共16046页 转到
页