科创中国
问题分诊室
具身智能与智慧医疗融合创新产业
高性能装备制造产业
智能机器人全产业链产业
中医药产业
人工智能产业
新一代信息技术产业
作物产业
量子科技与先进制造产业
海洋装备产业
煤炭开采及煤化工产业
特殊钢产业
节能环保产业
低空经济产业
光电产业
汽车产业
新能源产业
新材料产业
“以竹代塑”
成果发布厅
新型电力系统
化学领域
现代纺织
低空经济
信息通信
智慧公路
煤炭开采及煤化工
中医药
智能机器人全产业链
海洋装备
新一代信息技术
量子科技与先进制造
人工智能
高性能装备制造
具身智能与智慧医疗融合创新
作物
科创地方
科创北京
科创天津
科创内蒙古
科创辽宁
科创江苏
科创广西
科创广东
科创重庆
科创宁夏
科创河北
科创山东
科创河南
科创福建
科创湖南
科创黑龙江
科创湖北
科创浙江
科创山西
科创资讯
科创头条
科协活动
通知公告
科技政策
技术经理人
科技服务团
资源中心
项目库
问题库
案例库
开源库
学术资源
会议展览
品牌栏目
院士开讲
解码新质生产力
金融服务云课堂
企创云课堂
有问题想咨询
有成果想转化
我的交易
我的会议
我报名的路演会议
我的资讯
我的消息
我的动态
我的需求
我的成果
我的
个人资料编辑
退出登录
登录/注册
科创中国
需求发布
成果发布
科创案例库
揭榜挂帅
技术经理人
会议展览
科创联合体
科技服务团
科创资讯
科技政策
院士开讲
学术资源
城市站点
协作站点
搜索
问题库
项目库
开源库
English
我的交易
我的会议
我报名的路演会议
我的资讯
我的消息
我的动态
我的需求
我的成果
我的
个人资料编辑
退出登录
登录/注册
组织入驻
隐藏工作区
全国
在线展厅
切换展厅
全国
北京市
天津市
河北省
山西省
内蒙古
辽宁省
吉林省
黑龙江省
上海市
江苏省
浙江省
安徽省
福建省
江西省
山东省
河南省
湖北省
湖南省
广东省
广西
海南省
重庆市
四川省
贵州省
云南省
西藏
陕西省
甘肃省
青海省
宁夏
新疆
新疆兵团
路演活动
科技成果
参观
人数
0
0
0
0
0
0
0
点赞
人数
0
0
0
0
0
0
0
技术领域
全部
新兴行业
|
新基建
|
电子信息
|
高端产业
|
生物医药
|
石化与新材料
|
智能机械与光机电一体化
|
节能环保
|
新能源
|
现代农业
|
高端技术服务业
|
农林牧副渔
|
城建规划
|
文化创意
|
矿山工程
|
冶金工程
|
企业管理
|
知识产权
|
智库咨询
|
旅游休闲娱乐
|
企业发展服务
|
电子商务
|
纺织
|
其他
|
更多
青稞青饲化利用栽培与评价技术规程
青海省农作物种子站
爱智牙医——牙科诊断的新里程
深圳爱智芽科技有限公司
青海省科技智库支撑创新发展机制研究
青海省科学技术信息研究所有限公司
串并混联式三自由度平动搬运机构
苏州大学
一种安全座椅与儿童推车基座连接机构
河南大学
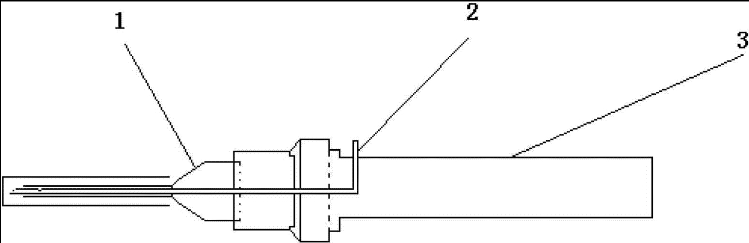
一种直式单手留置针
苏州大学
一种沃尼妙林的称量装置
山东巨伟泰生物科技股份有限公司
一种智能儿童推车的分离式刹车机构
河南大学
太阳能电池制绒表面的抛光方法及抛光装置
苏州大学
一种白头翁素放置架
山东巨伟泰生物科技股份有限公司
一种飞机蒙皮零件吊运的吊挂装置
启迪科技园(宁波)
一种反射式彩色滤光片
苏州大学
一种儿童推车的安全座椅头枕调节机构
河南大学
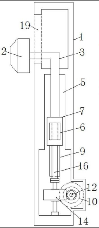
一种气动组合柔性预应力夹具及其控制系统
启迪科技园(宁波)
心血管药物基因位点的检测和应用
宁波市涂料与涂装行业协会
一种泰妙菌素生产用储存装置
山东巨伟泰生物科技股份有限公司
一种气动柔性承力夹具
启迪科技园(宁波)
一种光动力治疗用药物组合物及其制备方法以及一种水凝胶光敏剂
苏州大学
带有水质数据分析查询图形用户界面的显示屏幕面板
山东格林凯瑞精密仪器有限公司
一种细长形型材零件的数控加工装夹方法
启迪科技园(宁波)
首页
上一页
1981
1982
1983
1984
1985
1986
1987
下一页
尾页
共15997页 转到
页