放射性标记技术
中国核学会
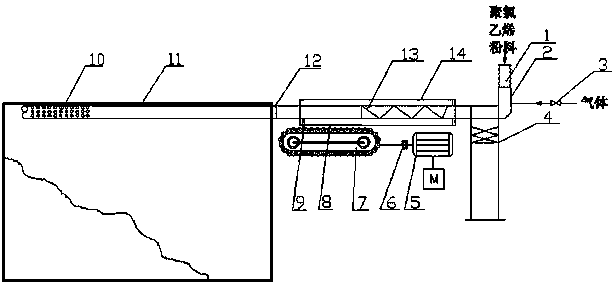
聚氯乙烯合成过程低沸塔尾气冷凝在线监控及报警方法
新疆天业(集团)有限公司
一种复合微生物肥料发酵设备
新疆鑫锦昊联新材料科技有限公司
一种具有过滤效果的环保污水处理用刮泥装置
新疆鑫锦昊联新材料科技有限公司
一种等离子体裂解煤制乙炔反应装置
新疆天业(集团)有限公司
一种铁路集装箱敞车装车定位装置
新疆天业(集团)有限公司
一种代谢酶诱导口罩熔喷布降解方法及降解产物分析方法
中国科学院生态环境研究中心
一种市政用污水回收装置
新疆鑫锦昊联新材料科技有限公司
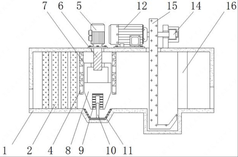
一种具有翻抛结构的有机肥制备用发酵装置
新疆鑫锦昊联新材料科技有限公司
一种高效节能的生物有机肥筛选设备
新疆鑫锦昊联新材料科技有限公司
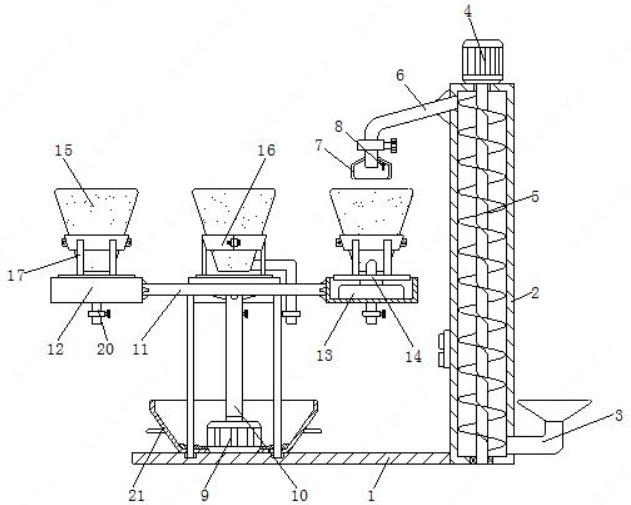
一种方便称重的有机肥加工用称量装置
新疆鑫锦昊联新材料科技有限公司
多模态一体化融合定位系统
山东可信联合信息科技有限公司
线路干扰器相关干涉信号系统
山东天大清源信息技术有限公司
一种分段式集装箱聚氯乙烯粉料输送装置
新疆天业(集团)有限公司
一种双层脑片孵育槽和膜片钳系统
中国科学院深圳先进技术研究院
一种油烟净化装置
郑营镇科协
基于深度学习和电生理信号的癫痫病灶区定位系统及方法
中国科学院深圳先进技术研究院
一种量化使用装置
山东笨笨农业科技有限公司
一种低剂量基于低共熔溶剂高效替代无机药剂的污泥脱水调理方法
中国科学院生态环境研究中心
一种导丝推送装置和血管介入机器人
中国科学院深圳先进技术研究院
共15998页 转到