一种无人机螺旋桨气动噪声数值模拟方法
中国科学院深圳先进技术研究院
一种基于脉冲神经网络的数据增强方法及装置
中国科学院深圳先进技术研究院
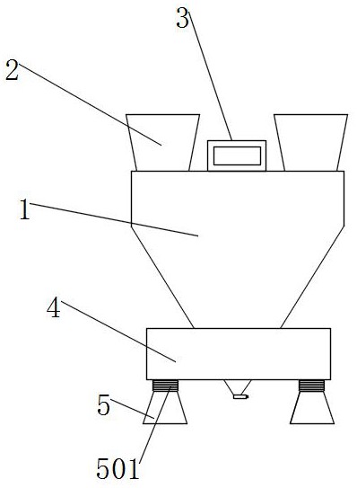
一种聚氨酯夹芯板生产线
湖北西航精工新材料有限公司
一种用于种植体加工的数控机床
中国科学院深圳先进技术研究院
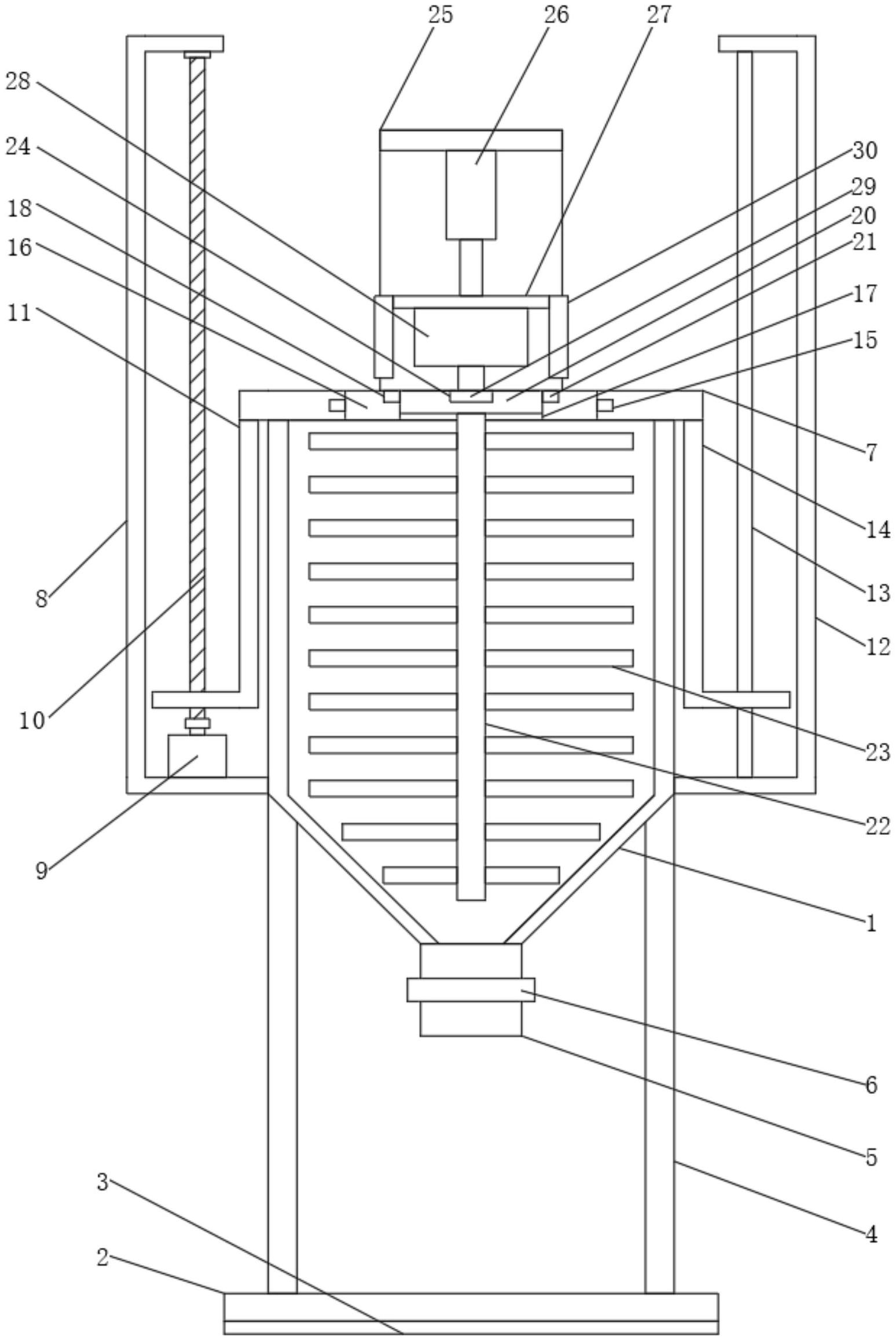
一种混凝土试块养护装置
中铁十四局集团有限公司市政工程分公司
一种可变宽的铝板冷弯成型机
湖北西航精工新材料有限公司
基于脉冲神经网络的机械手控制方法、机械手及存储介质
中国科学院深圳先进技术研究院
专属企业(事业)综合顾问
四川弛航人力资源发展有限公司
匀场联合仿真方法、装置、电子设备及存储介质
中国科学院深圳先进技术研究院
一种双履带式层压输送机用热风循环系统
湖北西航精工新材料有限公司
双示踪剂ECT成像方法、装置、设备及存储介质
中国科学院深圳先进技术研究院
一种鳍式场效应晶体管结构及其制造方法
中国科学院深圳先进技术研究院
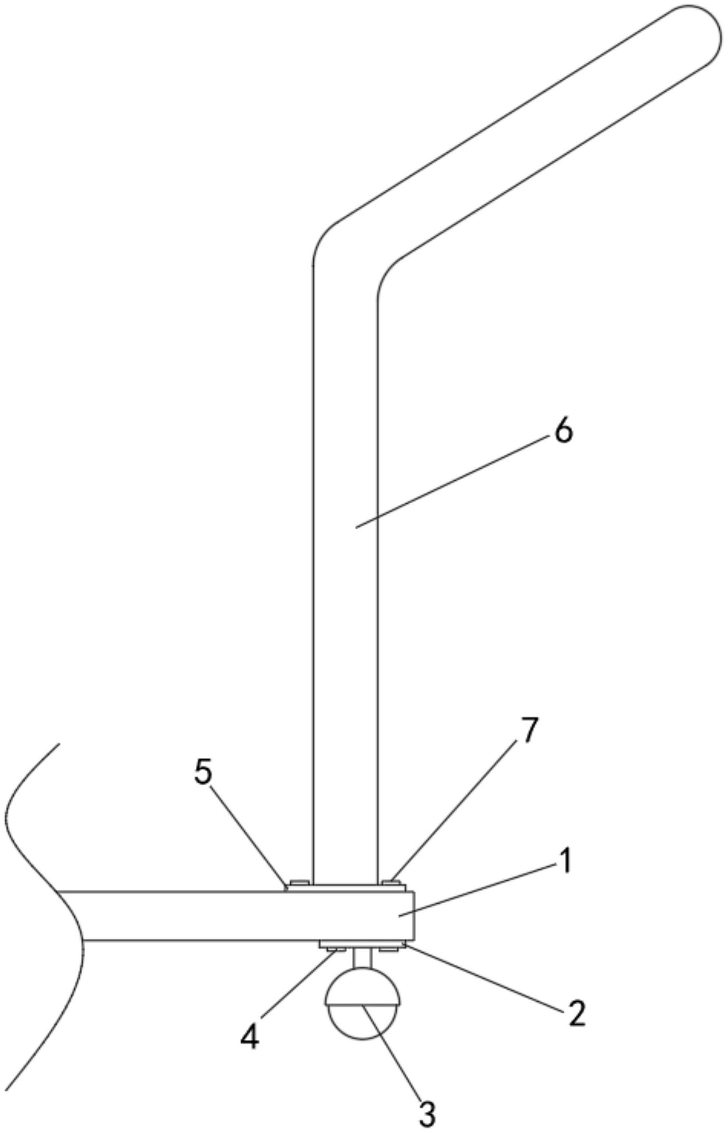
一种钢筋垫块
中铁十四局集团有限公司市政工程分公司
一种星三角技改兼具可控硅软起装置
湖北中盛电气有限公司
一种垂直风速变化特征研究方法及其装置
中国科学院深圳先进技术研究院
一种三维景深触觉传感器及其制备方法和应用
中国科学院深圳先进技术研究院
一种新型水解反应冷却器
老河口市天和科技有限公司
一种基于BERT神经网络模型的碳排量预判方法及装置
中国科学院深圳先进技术研究院
一种防辐射超高性能混凝土及其制备方法
华北水利水电大学
磁共振结直肠癌T分期预测方法及系统
中国科学院深圳先进技术研究院
共16046页 转到