农业有机废弃物智能控制快速堆肥技术
郑州轻大产业技术研究院
“五谷轮回”生态公厕
郑州轻大产业技术研究院
企业智能化AI服务提供商
美国南加州大学
基于“无人驾驶技术”、AI智能的中央控制系统
曼纽科医疗器械(湖南)有限公司
高效低氮氧化物燃烧技术
郑州轻大产业技术研究院
国内领先的光学显示材料提供商
南通惟怡新材料科技有限公司
污泥堆肥基无土草坪营养基质培育技术
郑州轻大产业技术研究院
高性能蓝牙耳机音膜的研究与应用
石门县达韵电子有限公司
大数据有序智能充电平台
乐米达新能源(上海)有限公司
市政污泥高效协同固态发酵技术
郑州轻大产业技术研究院
VEP语音情感进化
日本德岛大学
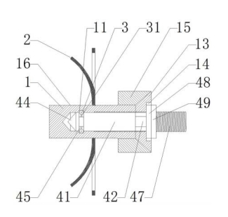
一种脂肪组织离心分离装置
嘉思特医疗器材(天津)股份有限公司
一种基于孪生卷积神经网络的书法字识别方法
中国科学院深圳先进技术研究院
PEM电解系统研发及产业化
巴阁士(上海)环境技术有限公司
一种脂肪干细胞的快速提取装置
嘉思特医疗器材(天津)股份有限公司
一种用于压滤机去泥饼的自动化设备
中国科学院深圳先进技术研究院
蔬菜高新栽培技术研究
澧县绿之源生态农业科技发展有限公司
基于头部及多鱼鳍协同运动的智能仿生机器鱼
中国科学院深圳先进技术研究院
一种脂肪血管基质组分的高效提取装置
嘉思特医疗器材(天津)股份有限公司
一种浮游植物检测方法和系统
中国科学院深圳先进技术研究院
共16046页 转到