南瓜栽培技术要点
大黄集镇政府
白萝卜的种植技术要点
大黄集镇政府
数字化冷冻砂型绿色铸造技术与装备
南京航空航天大学
棉花种植技术及管理要点
大黄集镇政府
冬瓜高产栽培技术和管理
大黄集镇政府
红薯根腐病防治方法
大黄集镇政府
一体化污水处理设备智能控制系统关键技术及应用
湖南易净环保科技有限公司
高端装备核心功能零部件射流冲击强化改性微纳加工技术
广州大学
无花果的高产栽培技术要点
大黄集镇政府
香菜种植技术
大黄集镇政府
黄桃栽培技术与管理
大黄集镇政府
切换电路
国网山东省电力公司单县供电公司
大白菜种植技术要点
大黄集镇政府
一种方便播种与施肥的油用牡丹种植装置
龙池牡丹实业有限公司
空心菜无公害栽培方法
大黄集镇政府
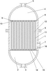
一种错流式陶瓷膜过滤器
菏泽龙池生物科技有限公司
鸡腿菇无公害高产栽培新技术
大黄集镇政府
大白菜软腐病防治方法要点
大黄集镇政府
食用油包装桶外观设计专利
菏泽龙池生物科技有限公司
林下香菇栽培技术要点
大黄集镇政府
共345页 转到